Μία τρελή ιδέα από την Airbus - Πώς σκέφτεται να αλλάξει τον τρόπο επιβίβασης σε αεροπλάνα [εικόνες] - iefimerida.gr

Μία τρελή ιδέα από την Airbus - Πώς σκέφτεται να αλλάξει τον τρόπο επιβίβασης σε αεροπλάνα [εικόνες]

NEWSROOM IEFIMERIDA.GR

Υπάρχουν αυτοί που τρέμουν στη σκέψη ενός ταξιδιού με αεροπλάνο. Και εκείνοι που βαριούνται τρομερά τη διαδικασία που πρέπει να περάσουν μέχρι να επιβιβαστούν σε αυτό.

Μία τρελή ιδέα από την Airbus - Πώς σκέφτεται να αλλάξει τον τρόπο επιβίβασης σε αεροπλάνα [εικόνες] | iefimerida.gr 0

Η Airbus έχει μία τρελή ιδέα για να αντιμετωπίσει το τελευταίο. Πρόκειται για μία πατέντα, που θα επισπεύδει τη διαδικασία, αλλάζοντας όσα ξέρουμε για την επιβίβαση σε αεροσκάφος. Σήμερα, οι επιβάτες περιμένουν να μπουν, κάνοντας ουρές, για αρκετή ώρα.

Μία τρελή ιδέα από την Airbus - Πώς σκέφτεται να αλλάξει τον τρόπο επιβίβασης σε αεροπλάνα [εικόνες] | iefimerida.gr 1

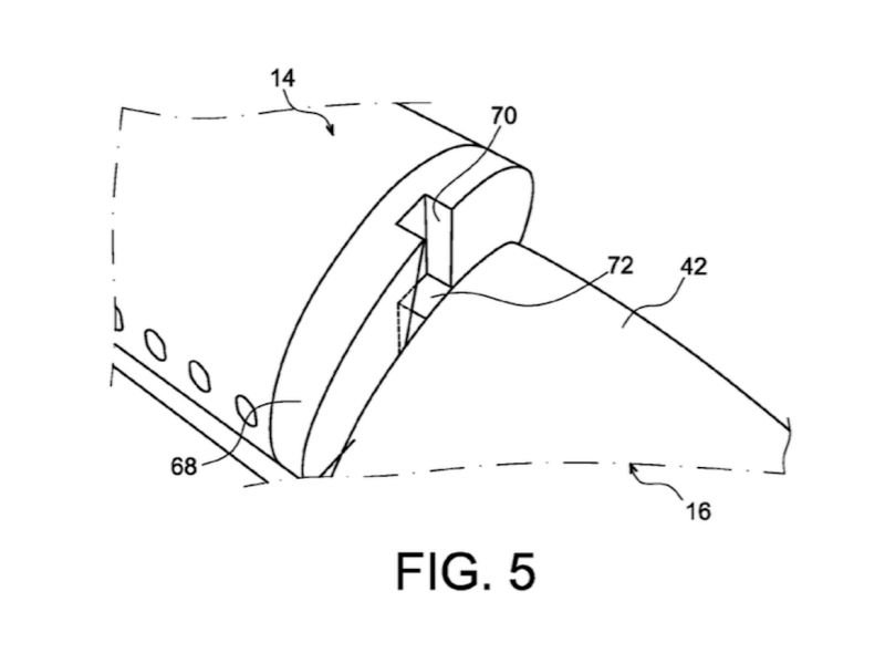
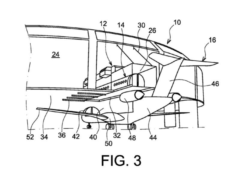
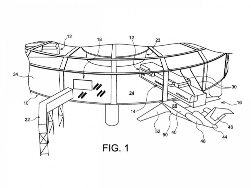
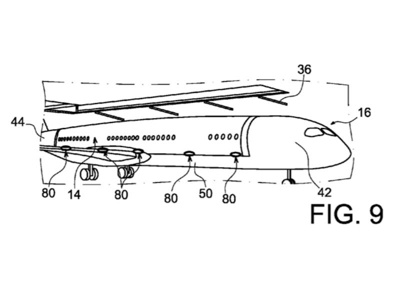
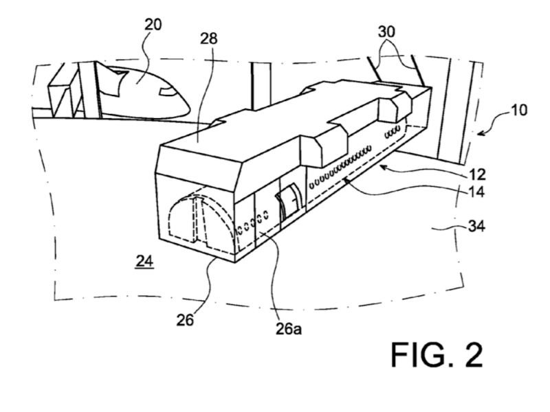
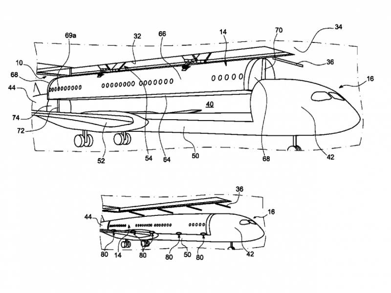
Το πλάνο της Airbus για να το αλλάξει αυτό απαιτεί ριζοσπαστικές αλλαγές στο σχεδιασμό των αεροπλάνων, αφού προτείνει να αποσπάται ολόκληρη η καμπίνα επιβατών.

Μία τρελή ιδέα από την Airbus - Πώς σκέφτεται να αλλάξει τον τρόπο επιβίβασης σε αεροπλάνα [εικόνες] | iefimerida.gr 2

Μόλις θα έχει «φορτωθεί» θα μεταφέρεται σε ειδικό χώρο, για να μπουν σε αυτή οι ταξιδιώτες.

Μία τρελή ιδέα από την Airbus - Πώς σκέφτεται να αλλάξει τον τρόπο επιβίβασης σε αεροπλάνα [εικόνες] | iefimerida.gr 3

Στη συνέχεια, η καμπίνα θα «κατεβαίνει» σαν ένα κοντέινερ και το αεροπλάνο θα είναι έτοιμο να ταξιδέψει.

Μία τρελή ιδέα από την Airbus - Πώς σκέφτεται να αλλάξει τον τρόπο επιβίβασης σε αεροπλάνα [εικόνες] | iefimerida.gr 4

Ετσι θα μπορούσε να μειωθεί ο χρόνος επιβίβασης, ενώ κάτι τέτοιο θα επέτρεπε στα αεροπλάνα να κάνουν περισσότερες πτήσεις και βέβαια θα έφερνε επιπλέον έσοδα στις αεροπορικές εταιρείες.

Μία τρελή ιδέα από την Airbus - Πώς σκέφτεται να αλλάξει τον τρόπο επιβίβασης σε αεροπλάνα [εικόνες] | iefimerida.gr 5

Και αυτό γιατί μόλις η καμπίνα επιβατών θα αφαιρείται, ένα αεροπλάνο θα μπορούσε να είναι έτοιμο για την επόμενη πτήση, χωρίς να είναι απαραίτητη η αναμονή για καθαρισμό, ή εκφόρτωση αποσκευών.

Βέβαια, όλο αυτό ανήκει στο μακρινό μέλλον, καθώς αυτό το πλάνο απαιτεί μεγάλες αλλαγές όχι μόνο στο σχεδιασμό των αεροσκαφών αλλά και σε εκείνον των αεροδρομίων.

Ακολουθήστε το στο Google News και μάθετε πρώτοι όλες τις ειδήσεις
Δείτε όλες τις τελευταίες Ειδήσεις από την Ελλάδα και τον Κόσμο, στο 
ΔΙΑΒΑΣΤΕ ΠΕΡΙΣΣΟΤΕΡΑ Airbus επιβίβαση
ΣΧΟΛΙΑΣΜΟΣ
Tο iefimerida.gr δημοσιεύει άμεσα κάθε σχόλιο. Ωστόσο δεν υιοθετούμε τις απόψεις αυτές καθώς εκφράζουν αποκλειστικά τον εκάστοτε σχολιαστή. Σχόλια με ύβρεις διαγράφονται χωρίς προειδοποίηση. Χρήστες που δεν τηρούν τους όρους χρήσης αποκλείονται.

ΔΕΙΤΕ ΕΠΙΣΗΣ

ΠΕΡΙΣΣΟΤΕΡΑ